Apple下一代MacBook最新谍照及Brick工艺

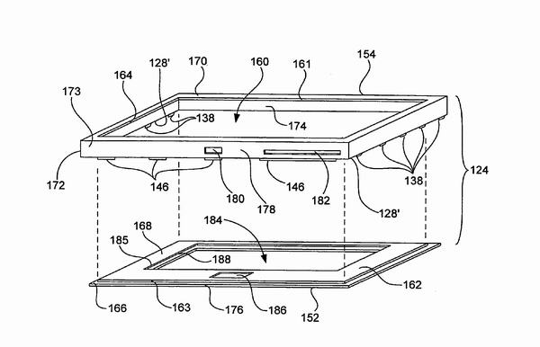
10月14号,Apple 将发布新的 MacBook 系列产品,此前除了 MacBook Air 的发布,Apple 的笔记本以及让人等了老长时间了。与 Apple 其他产品一样,发布之前人们的关注已经十分火热,也有各种谍照出现,上图是最新的来自国内论坛 MacHome 的外壳照片(via:apple4us,苹果家园需要注册,除了apple4us的转贴图片,你也可以在cnbeta上看到更多),从外观上粗略看,变化不是很大,除了稍微变大的圆角,相比前一代的 MacBook Pro 更显大气一点,这也似乎是审美的一股新潮,比如汽车上也是,硬式的明快。材料是铝,这就是人们热议的一个主要话题,就是“Brick”。
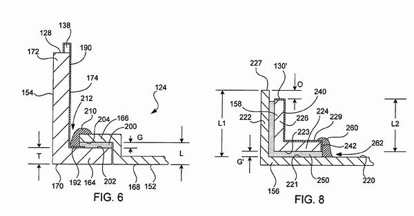
“Brick”是这一系列产品的代号,此前有各种解读比如小尺寸的 MacBook,而到 9to5mac 将其和加工工艺联系,一下热开了锅,因为据 9to5mac 透露,Brick 一项革命性的加工制造工艺,甚至可以上升到革工业革命的命的级别(would make Henry Ford proud),说 Brick 是一种铝切割技术,即通过三维激光(3坐标)和水切割工艺从一整块铝锭中切割出完整的 MacBook,无缝光滑、无螺丝而且强度很高,人们就非常期待。事实上,如果熟悉一些加工制造的就会觉得这样的描述是很难想象出到底怎样的,即使技术上可行而且把范围缩小的外壳的某一部分,从效率以及成本上也很难去解释它的可取性。后来商业周刊有一篇文章谈论这个问题,文中简要提到了 Apple 的一个专利,与笔记本的制造工艺有关,搜索可以查到这个工艺是7310872,2007年12月25号 Apple 获得的一个专利,关于计算机外壳的制造,主要是以笔记本为例,这个专利简单说就是将两个外壳零件比如上图中的键盘顶面这一块和四壁通过结构性胶水粘接并做成一个零件(文中举例是LORD洛德公司的201/19),同时也包括一种导电胶体连接两部分(屏蔽用),如果把这种方法和 Brick 这个词联系起来也说的通,因为就像砖块搭建一样,只不过用的是胶水而不是混凝土,或许也有其他解释方式。这种工艺的好处就是保证强度的同时,可以让壁厚更薄,让笔记本更轻,因为笔记本制造上更轻更薄和高强度(包括不同配件装配的结构强度)始终是一对矛盾的因素,比如塑料外壳要保证高强度就必须要大的壁厚,壁厚一大就需要更多的安装配合点(螺柱、扣件等),这样就会加重整个外壳,另外保证屏蔽作用,还要增加金属垫片。当然这种工艺还能带来外观设计上的一些好处,比如说上图所示的正面和四周的无缝无圆角边缘,以及四角大的圆角,眼睛所及之处看不见螺丝(前一代在四壁上有几粒)。在装配以及内部结构性配件上作优化,可以对比一下前一代的外壳内部照片(见全文)。所以比较来说以及结合最新的图片,用这个专利来解释Brick工艺是相对合理的。


似乎感觉四壁和表面的材料有区别,可能是表面处理的原因。7310872 专利中所说的这种方法可以应用到多种不同的材料中,比如塑料和金属。



另外针对一个热点话题来区分网站的不同也是很有效的,比如谈论Brick就可以发现哪里是 Apple 狂热粉丝的聚集地,哪里的用户比较理性或者偏技术有见解之类,比如同样是谈论Brick,DailyTech 上的评论就更值得一看。





